0086-18861028088
El Filtro de tambor rotatorio continuo YG a la venta se puede utilizar para llevar a cabo rápidamente la separación sólido-líquida de varios materiales de suspensión con características tales como descarga continua, alta capacidad de manejo, buen efecto de deshidratación, excelente entorno operativo, bajo espacio de piso y un alto grado de automatización. El diseño del filtro de tambor rotatorio se ajusta a los requisitos de GMP y FDA. Como uno de los fabricantes profesionales de filtros de tambor rotativos, Saideli tiene el filtro de tambor giratorio adecuado para la venta a sus necesidades. Si lo desea, podemos proporcionarlo a un precio competitivo de filtro de tambor giratorio. ¡Póngase en contacto con nosotros hoy y aumente sus operaciones con un filtro de presión de tambor giratorio continuo para una eficiencia óptima!
El Filtro de tambor giratorio continuo gira centrípetamente dentro de una carcasa de presión a velocidades infinitamente variables. La Cámara del anillo entre el tambor y la carcasa adopta un sello de embalaje especial y se ha separado en varias cámaras de sellado de gas. Las unidades de filtrado formadas por el filtrado de la tubería de líquido y los cabezales de control están en la superficie del tambor. La suspensión se alimentará continuamente a las unidades de filtrado bajo presión y la torta de filtro se acumulará en las unidades de filtrado. Bajo la rotación del tambor, la torta de filtro se transferirá a las siguientes unidades. Después de cuatro pasos que están filtrando, lavando, secando y descargando, las unidades se llenarán totalmente, luego, el líquido o el gas de lavado se alimentarán para reemplazar el líquido en una fase para garantizar que el líquido pase a través de la torta del filtro. En el área de descarga sin presión, la torta de filtro se puede descargar a través del soplado hacia atrás y el raspador móvil. Cada unidad de filtrado girará alrededor del eje durante la rotación del tambor.Este Tipo deFiltro centrífugo industrial Funciona continuamente con alimentación, filtrado, lavado, secado y descarga.
El filtro de tambor de presión se puede utilizar para todo el filtro rotatorio continuo o suspensión de producción por lotes y el diseño de sellado completo especialmente adecuado para el filtrado de disolventes y la separación de productos que deben hacerse en sistema de sellado completo, como productos tóxicos o productos tienen requisitos de seguridad para la planta o el medio ambiente.
1. tinte, pigmento
2. Plástico
3. antibiótico
4. Pesticida, química fina
5. Comida
El Filtro de tambor de presión es un tipo de filtro continuo con un diseño de sellado de presión. El filtro de tambor de presión adopta el tambor perforado como medio de filtro e integra el lavado, la extracción, la evaporación y el secado en una máquina. Y es una especie de selladora de separación sólida y líquida con captura continua y Automática de Sólidos de suspensión (mezclados con sólidos y líquidos). Con funcionamiento continuo, aunque a baja velocidad, el filtro de presión del tambor rotatorio será de alta eficiencia.
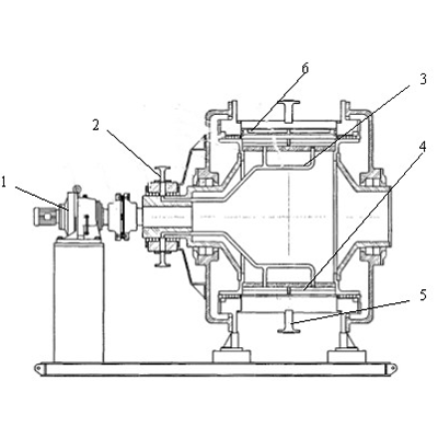
1. reductor 2. Cabezal de distribución: tubo de líquido de 3 meses 4. Tambor interior 5. Tubo de alimentación 6. Tambor exterior
